空气过滤行业中常说的熔喷空气过滤棉材料是采用聚丙烯制作而成,空气过滤棉制做工艺大多以热熔、熔喷、针刺、水刺、纺粘等工艺经多道工序制成。
熔喷法过滤棉制作工艺:将聚丙烯切片(FR400-1200)通过螺杆挤压机融,经过喷丝孔将其喷出成为纤维状并在高速(13000m/min)热气流的喷吹下,使之受到强大拉伸,形成极细的短纤维,这些短纤维被吸附在成网帘上,由于纤维凝聚成网后仍能保持较高的温度,从而使纤维间相互粘连成为熔喷法非织造布,最后进行成卷打包。

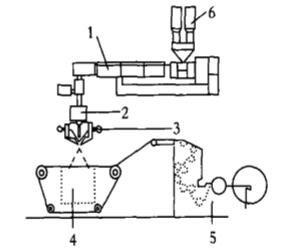
1、螺杆挤压机:螺杆直径一般为100~120mm,长/径比为30,其目的是将切片熔化。
2、计量泵:其作用是精确计量,控制产量和纤维的细度,为齿轮泵,将熔体连续输送到喷丝头。
3、熔体过滤器:其作用是将熔体中的杂质过滤掉,以免堵塞喷丝孔。
4、输送网帘:将熔喷纤维均匀接收铺在网上,向前输送,其下面有吸风机,将上面下来的热风排出。
5、纺丝箱体:是熔喷工艺的关键设备有1块长条形喷丝板,板上布满一长列喷丝孔,一般每m长约有1500个喷孔。喷丝板两侧面装有热空气喷管,下装有热空气喷孔,与喷丝孔成50b角,使纤维喷出之后,即刻用高速热空气进行气流拉伸,把纤维吹断,成为超细纤维。
6、喂料系统:由3个计量斗组成,分别用于计量白色切片、色母粒、添加剂,3种组分进入下面的混合搅拌器混合均匀,即投入生产。
7、热风机与加热器:提供纺丝气流拉伸时所用的热空气的温度与压力,用电加热,耗电量较大。
8、卷取机采用全自动卷取,将熔喷过滤棉成卷包装。熔喷法非织造布的纤维特点是超细,其纤维直径最小可达到0.5Lm,一般在1~5Lm之间。纤维越细,熔喷过滤棉质量越好,但产量相对减少。由于纤维超细,其比表面积大,吸附能力强,这是熔喷过滤棉最突出的优点。
以上信息是由北昌君控为您提供的熔喷空气过滤棉,如还想了解相关信息请您查看其他信息。转载请注明是由北昌君控提供的。
